Пружина колодок Матіз/Spark гальмівних зад верх GM 94580428
|
110 ₴
склад
|
- (A) селище Пісочин, вулиця Надії, 15А, офіс 1 , В наявності (4 шт)
- Виробник
-
GM
(Корея)
- Каталоговий номер
- 94580428
- Схеми
- дивитись →
Обмін або повернення протягом 14 днів.
Застосовність
- Товарна група:
- - Гальмівна система Комплектуючі колодок
Застосовність за схемами
|
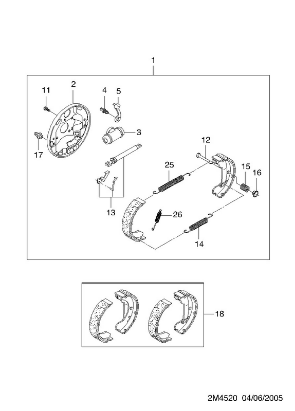
ЗАДНЕ ГАЛЬМО(БАРАБАННЕ) (4520) 45200
|
|
|
|
ЗАДНЕ ГАЛЬМО(БАРАБАННЕ) (4520) 45200
|
|
|
|
ЗАДНЕ ГАЛЬМО (4520) (LH) 45200L
|
|
|
|
ЗАДНЕ ГАЛЬМО (4520) 45200
|
|
Оригінальні номери
OEM:
94580428
